Starrett Radius Gage Reference Information
.jpg?sfvrsn=5f8b28ba_2)
Starrett 167 Individual Radius Gages
FIVE DIFFERENT GAGING SURFACES –
Ideal for Checking Convex and Concave Radii of All Types



Fig 1. Checking concave (internal) radius with 90° arc. Also checks if sides are tangent to radius and 90° to each other
Fig 2. Checking concave (internal) radius with arc up to 180°. Also will check radius shown in Fig. 1 but not relationship of sides.
Fig 3. Checking convex (external) radius with 90° arc. Also checks if sides are tangent to radius and 90° to each other.


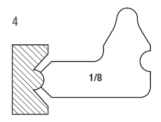
Fig 4. Checking convex (external) radius with arc of 90° or greater, or radii with sides as shown which would interfere with gage used as in Fig. 3.
Fig 5. Checking convex (external) radius with arc of 180°; also less than 180° if sides of radius offer no interference.
178 Radius Gage Surfaces

272 Radius Gage Surfaces
